提供專業控制閥解決方案! 銷售熱線:021-5186 3046
電動法蘭閘閥
一、電動法蘭閘閥 產品概述
上海川滬閥門有限公司生產的Z941W 電動法蘭閘閥,閘閥與Z型多回轉電動執行機構相配,有開關型和智能型。此類閥門操作非常簡單是一種常見的啟閉式閥,它利用閘板的上下運作來接通和關閉管道中的流體介質。
特點:
1、流動阻力不大,密封面受介質的沖刷和侵蝕小(閘板開啟度高)
2、開啟時有力度,密封的性能較好,介質流向不受限制,不攏流,不降壓力。
3、形體簡單明了,制做工藝性好,使用范圍大。
4、閉閥所需力矩較小。
適用場景:
Z941W 電動法蘭閘閥廣泛應用于化工、造紙、石油、電力、冶金、污水處理等部門。
二、電動法蘭閘閥 產品圖片
 |
 |
| 電動法蘭閘閥(鑄鋼法蘭連接) |
電動法蘭閘閥(配常州蘭陵電動執行器) |
三、電動法蘭閘閥 產品型號
| 閥體材質 |
型號 |
| 鑄鋼 |
Z941W-16C,Z941W-25C,Z941W-16C,Z941W-40C,Z941W-63C,Z941W-100C,Z941W-160C,Z941W-200C |
| 304不銹鋼 |
Z941W-16P,Z941W-25P,Z941W-16P,Z941W-40P,Z941W-63P,Z941W-100P,Z941W-160P,Z941W-200P |
| 316不銹鋼 |
Z941W-16R,Z941W-25R,Z941W-16R,Z941W-40R,Z941W-63R,Z941W-100R,Z941W-160R,Z941W-200R |
四、電動法蘭閘閥 零部件材料
| 型號 |
材料 |
| 閥體、閥蓋 |
閘板 |
閥桿 |
填料 |
| Z941W-16P~200P |
鉻鎳不銹鋼 |
鉻鎳不銹鋼 |
鉻鎳不銹鋼 |
聚四氟乙烯 |
| Z941W-16R~200R |
鉻鎳鉬不銹鋼 |
鉻鎳鉬不銹鋼 |
鉻鎳鉬不銹鋼 |
五、電動法蘭閘閥 主要技術參數
| 型號 |
PN |
工作壓力/MPa |
適用溫度/℃ |
適用介質 |
| Z941W-16P~200P |
16~200 |
4.0~10.0 |
≤200 |
硝酸類介質 |
| Z941W-16R~200R |
醋酸類介質 |
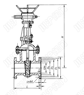
六、電動法蘭閘閥 結構圖
七、電動法蘭閘閥 連接尺寸
Z941W-25P、Z941W-25R 型不銹鋼楔式閘閥主要外形及結構尺寸(mm)
| DN |
L |
D |
D1 |
D2 |
b |
f |
z×Φd |
H |
重量/Kg |
| 50 |
250 |
160 |
125 |
100 |
20 |
3 |
4×Φ18 |
653 |
64 |
| 65 |
265 |
180 |
145 |
120 |
22 |
3 |
8×Φ23 |
665 |
65 |
| 80 |
280 |
195 |
160 |
135 |
22 |
3 |
8×Φ18 |
725 |
79 |
| 100 |
300 |
230 |
190 |
160 |
24 |
3 |
8×Φ23 |
787 |
98 |
| 125 |
325 |
270 |
220 |
188 |
28 |
3 |
8×Φ25 |
902 |
154 |
| 200 |
400 |
360 |
250 |
218 |
30 |
3 |
8×Φ25 |
955 |
168 |
| 250 |
450 |
425 |
370 |
332 |
36 |
3 |
12×Φ30 |
1343 |
390 |
| 300 |
500 |
485 |
430 |
390 |
40 |
4 |
16×Φ30 |
1516 |
505 |
| 350 |
550 |
550 |
490 |
448 |
44 |
4 |
16×Φ34 |
1678 |
736 |
| 400 |
600 |
610 |
550 |
505 |
48 |
4 |
16×Φ34 |
1849 |
1027 |
| 450 |
650 |
660 |
600 |
555 |
50 |
4 |
20×Φ34 |
1937 |
1139 |
| 500 |
700 |
730 |
660 |
610 |
52 |
4 |
20×Φ41 |
2234 |
1228 |
| 600 |
800 |
840 |
770 |
718 |
56 |
5 |
20×Φ41 |
2432 |
1502 |
| 700 |
900 |
955 |
875 |
815 |
60 |
5 |
24×Φ48 |
2489 |
1617 |
| 800 |
1000 |
1070 |
990 |
930 |
64 |
5 |
24×Φ48 |
2643 |
1923 |
Z941W-40P、Z941W-40R 型不銹鋼楔式閘閥主要外形及結構尺寸(mm)
| DN |
L |
D |
D1 |
D2 |
D6 |
b |
f |
f1 |
z×Φd |
H |
重量/Kg |
| 50 |
250 |
160 |
125 |
100 |
88 |
20 |
3 |
4 |
4×Φ18 |
665 |
58 |
| 65 |
280 |
180 |
145 |
120 |
110 |
22 |
3 |
4 |
8×Φ18 |
680 |
68 |
| 80 |
310 |
195 |
160 |
135 |
121 |
22 |
3 |
4 |
8×Φ18 |
752 |
80 |
| 100 |
350 |
230 |
190 |
160 |
150 |
24 |
3 |
4.5 |
8×Φ23 |
846 |
108 |
| 125 |
400 |
270 |
220 |
188 |
176 |
28 |
3 |
4.5 |
8×Φ25 |
923 |
151 |
| 150 |
450 |
300 |
250 |
218 |
204 |
30 |
3 |
4.5 |
8×Φ25 |
1087 |
258 |
| 200 |
550 |
375 |
320 |
282 |
260 |
38 |
3 |
4.5 |
12×Φ30 |
1243 |
366 |
| 250 |
650 |
445 |
385 |
345 |
313 |
42 |
3 |
4.5 |
12×Φ34 |
1429 |
472 |
| 300 |
750 |
510 |
450 |
408 |
364 |
46 |
3 |
4.5 |
16×Φ34 |
1608 |
673 |
| 350 |
850 |
570 |
510 |
465 |
422 |
52 |
4 |
5 |
16×Φ34 |
1738 |
804 |
| 400 |
950 |
655 |
585 |
535 |
474 |
58 |
4 |
5 |
16×Φ41 |
1897 |
1081 |
| 450 |
1050 |
680 |
610 |
560 |
524 |
60 |
4 |
5 |
20×Φ41 |
2104 |
1259 |
| 500 |
1150 |
755 |
670 |
612 |
576 |
62 |
4 |
5 |
20×Φ48 |
2401 |
1348 |
Z941W-63P、Z941W-63R 型不銹鋼楔式閘閥主要外形及結構尺寸(mm)
| DN |
L |
D |
D1 |
D2 |
D6 |
b |
f |
f1 |
z×Φd |
H |
重量/Kg |
| 50 |
250 |
175 |
135 |
105 |
88 |
26 |
3 |
4 |
4×Φ23 |
667 |
68 |
| 65 |
280 |
200 |
160 |
130 |
110 |
28 |
3 |
4 |
8×Φ23 |
685 |
72 |
| 80 |
310 |
210 |
170 |
140 |
121 |
30 |
3 |
4 |
8×Φ23 |
748 |
88 |
| 100 |
350 |
250 |
200 |
168 |
150 |
32 |
3 |
4.5 |
8×Φ25 |
845 |
117 |
| 125 |
400 |
295 |
240 |
202 |
176 |
36 |
3 |
4.5 |
8×Φ30 |
935 |
158 |
| 150 |
450 |
340 |
280 |
240 |
204 |
38 |
3 |
4.5 |
8×Φ34 |
1090 |
314 |
| 200 |
550 |
405 |
345 |
300 |
260 |
44 |
3 |
4.5 |
12×Φ34 |
1253 |
432 |
| 250 |
650 |
470 |
400 |
352 |
313 |
48 |
3 |
4.5 |
12×Φ41 |
1449 |
595 |
| 300 |
750 |
530 |
460 |
412 |
364 |
54 |
4 |
4.5 |
16×Φ41 |
1867 |
721 |
| 350 |
850 |
595 |
525 |
475 |
422 |
60 |
4 |
5 |
16×Φ41 |
1931 |
963 |
| 400 |
950 |
670 |
585 |
525 |
474 |
66 |
4 |
5 |
16×Φ48 |
2017 |
1129 |
| 500 |
1150 |
800 |
705 |
640 |
576 |
70 |
4 |
5 |
20×Φ54 |
2459 |
1493 |
Z941W-100P、Z941W-100R 型不銹鋼楔式閘閥主要外形及結構尺寸(mm)
| DN |
L |
D |
D1 |
D2 |
D6 |
b |
f |
f1 |
z×Φd |
H |
重量/Kg |
| 50 |
250 |
195 |
145 |
112 |
88 |
28 |
3 |
4 |
4×Φ25 |
781 |
78 |
| 65 |
280 |
220 |
170 |
138 |
110 |
32 |
3 |
4 |
8×Φ25 |
830 |
96 |
| 80 |
310 |
230 |
180 |
148 |
121 |
34 |
3 |
4 |
8×Φ25 |
865 |
126 |
| 100 |
350 |
265 |
210 |
175 |
150 |
38 |
3 |
4 |
8×Φ30 |
1179 |
134 |
| 125 |
400 |
310 |
250 |
210 |
176 |
42 |
3 |
4.5 |
8×Φ34 |
1190 |
200 |
| 150 |
450 |
350 |
290 |
250 |
204 |
46 |
3 |
4.5 |
12×Φ34 |
1201 |
352 |
| 200 |
550 |
430 |
360 |
312 |
260 |
54 |
3 |
4.5 |
12×Φ41 |
1611 |
484 |
| 250 |
650 |
500 |
430 |
382 |
313 |
60 |
3 |
4.5 |
12×Φ41 |
1903 |
608 |
| 300 |
750 |
585 |
500 |
442 |
364 |
70 |
4 |
4.5 |
16×Φ48 |
2054 |
757 |
| 350 |
850 |
655 |
560 |
498 |
422 |
76 |
4 |
5 |
16×Φ54 |
2132 |
994 |
| 400 |
950 |
715 |
620 |
558 |
474 |
80 |
4 |
5 |
16×Φ54 |
2321 |
1269 |
Z941W-160P 型不銹鋼楔式閘閥主要外形及結構尺寸(mm)
| DN |
L |
D |
D1 |
D2 |
D6 |
b |
z×Φd |
H |
重量/Kg |
| 50 |
300 |
215 |
165 |
132 |
95 |
36 |
8×Φ25 |
700 |
250 |
| 65 |
340 |
245 |
190 |
152 |
110 |
44 |
8×Φ30 |
750 |
250 |
| 80 |
390 |
260 |
205 |
168 |
130 |
46 |
8×Φ30 |
815 |
250 |
| 100 |
450 |
300 |
240 |
200 |
160 |
48 |
8×Φ34 |
860 |
- |
| 125 |
525 |
355 |
285 |
238 |
190 |
60 |
8×Φ41 |
970 |
- |
| 150 |
600 |
390 |
318 |
270 |
205 |
66 |
12×Φ41 |
1224 |
- |
| 200 |
750 |
480 |
400 |
345 |
275 |
78 |
12×Φ48 |
1490 |
- |
Z941W-200P 型不銹鋼楔式閘閥主要外形及結構尺寸(mm)
| DN |
L |
D |
D1 |
D2 |
D6 |
b |
z×Φd |
H |
重量/Kg |
| 50 |
350 |
210 |
160 |
128 |
95 |
40 |
8×Φ27 |
712 |
- |
| 65 |
410 |
260 |
203 |
165 |
110 |
48 |
8×Φ30 |
765 |
- |
| 80 |
470 |
290 |
230 |
190 |
160 |
54 |
8×Φ34 |
850 |
- |
| 100 |
550 |
360 |
292 |
245 |
190 |
66 |
8×Φ41 |
980 |
- |
| 125 |
650 |
385 |
318 |
270 |
205 |
76 |
12×Φ41 |
1080 |
- |
| 150 |
750 |
440 |
360 |
305 |
240 |
82 |
12×Φ48 |
1140 |
- |
八、電動法蘭閘閥 安裝說明
1.電動閘閥可安裝在水平管路或垂直管路上,單雙閘板閘閥應安裝在水平管路上,且手輪應位于閥門上方,不允許朝下安裝。閘閥介質流動方向不受限制。
2.電動閘閥通常采用法蘭連接,特殊場合也有用焊接連接的。
3.對于大口徑及高壓的閘閥,啟閉力矩較大。為了減小啟閉力矩,可采用安裝旁通閥的辦法。旁通閥安裝在主閘閥外部,它的進出口與主閘閥的兩側練練連接,并聯聯通。主閘閥開啟前應先開通旁通閥,進入閥后,使主閘閥閘板前后的壓力差減小,從而減小主閘閥的開啟力矩。旁通閥口徑的選用應根據主閥口徑和使用要求考慮。
4.電動閘閥是截斷閥,密封性能不及截止閥。閘閥主要"職責"是"斷流",以及以小的阻力:"續流"。它不宜用作調節介質的流量和壓力,如長期用于調節,密封面易被介質沖刷磨損,影響密封性能。
5.電動閘閥的介質溫度、壓力,對使用的可靠性應引起注意。在高溫、高壓時,由于溫度的變化可能使閘板鍥死,同時因各處介質溫度不均勻,易產生不密封現象。鍥式但閘板閥尤為明顯。
6.初次通電時應注意電源的相序,正確的操作方法是將閘閥手動開至中間位置,然后再點動操作開關閥門,將閥門的行程調整好后(具體的調整方法聯系廠家),方可正常運行。
注:由于產品改進技術創新參數可能有一定變化,公司不另行通知,請咨詢公司技術部門索取新數據。
下載:上海川滬閥門有限公司-產品樣本-電動法蘭閘閥.PDF
電動法蘭閘閥鏈接:http://www.weixinart.com/products/diandongjiezhifa/z941w.html